PCB下单系统+PCB数字化生产管理ERP系统一体化解决方案
本解决方案将PCB在线下单系统与数字化生产管理ERP系统无缝集成,实现从客户下单到产品交付的全流程数字化管理,提升PCB制造企业的运营效率和服务质量。
一、核心功能模块
1. PCB智能下单系统
在线报价引擎:基于板材(包含FR-4、铝基、铜基、Rogers、刚挠结合、HDI等)、层数(1~20层)、工艺等参数实时计算价格,如下图:


设计文件自动分析:支持Gerber/ODB++等格式的DFM/DFA检查,
检查类别检测项目    工业标准参考
线路层 最小线宽/间距违规   IPC-7351B Class 3
钻孔层 孔环不足/孔距冲突  IPC-6012E
阻焊层 开窗不足/桥接风险  IPC-SM-840D
平面层 铜箔平衡度(<30%偏差) IPC-4101E
文字层 丝印覆盖焊盘   J-STD-003D
如下图:


可视化订单跟踪:客户实时查看生产进度

BOM智能匹配:自动匹配元器件库存与供应商

移动端支持:微信小程序/APP下单与查询

2. 数字化生产管理ERP

订单下生产
选中其中一个订单,点击订单列表中操作“生产”按钮,系统会弹出提交ERP生产的页面,核实订单信息后点击“提交到ERP”按钮,系统会再次提醒“您是否确认将此订单提交至ERP?”,选中“是”提交生产即可成功。

选择一条状态为“未审核”的订单,点击“审核”按钮,系统会弹出审核窗口,确认参数信息后,点击“确认审核通过”按钮,审核成功后,自动关闭窗口。该条订单状态更新为“审核通过”。如果订单不符合,可以直接点击审核不通过。

客户的地址要进行修改,或者联系人名字、手机号码要修改,直接点击更改收货地址。
系统会弹出客户的收货人以及地址信息,根据提示进行修改最后点击提交保存即可。

最后的下单的价格是以单业务专员审核为准的,价格需要进行调整点击订单上方的“更改价格”,系统会弹出调整的页面,选择要修改的信息最后点击确认修改即可。

需要第二次下同款型号单时,选择要返单的订单,再点击订单上方的“返单”按钮。

系统会弹出订单内容,选择收货地址,最后点击确定返单即可。

选择要上传或者下载钢网文件的订单,直接点击下载钢网文件

选中一个订单,点击订单上方的“上传合同”,系统会弹出一个框框,按照提示上传格式为.zip、rar 为后缀, 且大小不得超过20M的文件。

如果需要用到合同方面的问题,选中一个订单,点击订单上方的“打印合同”即可,系统会弹出一份合同。

如果需要编辑合同号,选中一个订单,点击订单上方的“编辑合同号”,系统会弹出编辑合同号的框框进行编辑,编辑好点击“确认”即可。

修改订单是修改订单的参数信息,像下单板长、板宽、数量、板层等。操作:选择其中一个订单,点击订单上方的“修改订单”,系统会弹出修改参数信息的界面,按照提示依次修改,修改好信息后点击“确认修改”就能修改成功

查看未收款是查看还未收完款的订单,直接点击订单上方的“查看未收款”,系统就会自动筛选出未收款的订单。

2.14、订单外发
订单外发是将还未生产的订单分派交给外部的人进行制作,操作:选中其中一个或者多个没有生产的订单,点击订单上方的“订单外发”,系统会再次提示确认是否外发,点击是。

2.15、查看标签
查看标签是查看订单发货的格式和内容,操作:选中一个订单,点击订单上方的“查看标签”,系统会弹出标签信息。

此栏目是查询订单生产状态的进度,修改工艺目前的进度。

可以根据订单号和PCB文件名进行查询,操作:输入订单号或者是PCB文件名,点击查询即可查询到结果。

3.2、修改工艺
选中其中一个订单,点击订单列表中的“修改工艺”,系统会弹出修改工艺的界面,选择了目前的工艺进度之后再点击“确认”便能修改成功。

此栏目是查看全部客户的收货地址信息,可以进行操作的有:查询客户、添加客户收货地址、修改客户地址、删除客户地址
查询客户的条件可以根据客户公司名、手机号、收货人姓名进行查询,输入条件信息后,点击旁边的“查询”即可查询到结果。

点击收货信息上面的“添加”,页面会跳转到添加客户信息的界面,依次选择客户、收货人、手机、是否设置默认地址、收货地址,输入完后点击下方的“提交保存”就能保存成功。

此栏目是确认订单是否可以制作,我们可以依次看到板层、板厚、阻焊颜色、字符颜色、表面处理,根据这些信息查看订单是否可以制作。如果可以制作,点击订单列表中的操作“处理资料”,系统会再次弹出一个窗口,提醒是否确认订单,选择“是”即可,系统会提示“操作成功,请及时处理订单资料!”

5.2、暂停/恢复
如果订单出现材料补缺等情况需要进行暂停,可以选择暂停,选中需要一条要暂停的订单,点击订单上方的“暂停/恢复”即可。

之后订单状态会显示“暂停”。

此栏目是上传制作处理的资料,右边显示的是订单待处理中的状态。

5.3、查询订单
可以根据生产编号、客户型号、板层、板厚等条件查询,选择以上条件后点击“搜索”即可。

5.4、上传制作文件(若已上线外协抢单系统,则无需操作此步)
点击订单列表中的操作“完成”,系统会转到上传文件的页面,点击“上传文件”(为zip/rar/tgz格式的压缩包文件,文件名也需要跟生产编号保持一致),上传成功后点击下方的“确认完成”即可。

5.5、撤销订单
如果订单无需制作了,需要进行撤销,可以点击订单列表中的操作“撤销”,系统会再次提醒确定撤销订单,点击“是”即可,系统会提示操作成功。

此栏目是可以将客户的多个订单进行拼板制作,其他操作还有:查询订单、修改编号、单款下单、替换资料、取消补料、查看订单详情、编辑订单
5.6.1、查询订单
可以根据生产编号、客户型号、板层、阻焊颜色、字符颜色、表面处理等条件查询,选择查询条件后点击“搜索”就能查看到订单结果。

5.6.2、修改编号
选择其中一个订单,点击订单上方的“修改编号”,系统会弹出编写的小窗口,修改后点击“确认”即可。

5.6.3、单款下单
单款下单即无需拼板,单个订单制作,操作:选中一个订单,点击订单上方的“单款下单”或者是订单列表中的操作“单款下单”即可,系统会提示操作成功。

5.6.4、替换资料
替换资料是重新上传制作资料文件,操作,点击要重新上传文件的订单,点击订单上方的“替换资料”,系统会弹出上传文件的窗口,点击“上传文件”,上传成功后点击“替换资料”就能替换成功。(注意:文件要上传已处理的资料,上传格式为zip/rar/tgz的压缩包文件)

5.6.5、取消补料
取消补料是取消订单类型为补料的订单,操作:选择要取消补料的订单,再点击订单上方的“取消补料”就能取消成功。

5.6.6、编辑订单
编辑订单是编辑订单的制作信息,操作:点击其中一个订单操作“编辑”按钮,系统会跳转到编辑的页面,像psc长、psc宽、set长、set宽、工艺边、拼板间距等信息,编辑好了点击下方的“确认修改”就能编辑成功。

5.6.7、查看订单详情
直接点击订单列表中的订单详情中的“详情”,可以看到订单的详情信息

像客户型号、生产型号、订单类型、板材、板厚、铜厚等信息。

此栏目是查询所有已拼的型号订单信息。可以操作的有:查询订单、查询订单详情、编辑订单以及替换资料。
5.7.1、查询订单
可以根据生产编号、客户型号、板层、阻焊颜色、字符颜色、表面处理等条件查询,选择查询条件后点击“搜索”就能查看到订单结果。

5.7.2、查看订单详情
直接点击订单列表中的订单详情中的“详情”,可以看到订单的详情信息,像工程编辑详情里的投料板厚、投料铜厚、孔铜等,客户订单详情里的客户型号、生产型号、订单类型、板材、板厚、铜厚等信息。

5.7.3、编辑订单
编辑订单是编辑订单的制作信息,操作:点击其中一个订单操作“编辑”按钮,系统会跳转到编辑的页面,像psc长、psc宽、set长、set宽、工艺边、拼板间距等信息,编辑好了点击下方的“确认修改”就能编辑成功。

5.7.4、替换资料
替换资料是重新上传制作资料文件,操作,点击要重新上传文件的订单,点击订单上方的“替换资料”,系统会弹出上传文件的窗口,点击“上传文件”,上传成功后点击“替换资料”就能替换成功。(注意:文件要上传已处理的资料,上传格式为zip/rar/tgz的压缩包文件)

此栏目是多个订单进行合拼的订单,可以看到的订单信息有订单总数、订单面积、开料数量、拼板数量等。可以操作的有:上传开料图、查看MI、修改MI、替换文件、查看开料图、修改订单、完成订单。
5.8.1、上传开料图
选择一个订单,再选择订单上方的“上传开料图”,系统会弹出上传文件的窗口,依次上传“大料拼板图”和“A板拼版图”,上传后点击“确认提交”即可

查看MI:选择其中一个订单,点击订单上方的“查看MI”即可查询到MI信息

5.8.2、修改MI
选择一个订单,再选择订单上方的“修改MI”,系统会跳转到修改MI的窗口,编辑后点击最下方的“提交保存”就能修改成功。

5.8.3、替换文件
替换文件是重新上传制作资料文件,操作,点击要重新上传文件的订单,点击订单上方的“替换文件”,系统会弹出上传文件的窗口,点击“上传文件”,上传成功后点击“确认提交”就能替换成功。(注意:文件要上传已处理的资料,上传压缩包格式文件)

5.8.4、查看开料图
点击订单列表中合拼详情“开料图”,系统会跳转到开料图详情窗口。

5.8.5、修改订单
选择要修改的订单,点击订单列表中操作“修改”按钮,系统会跳转到修改信息的窗口,修改之后点击最下方的“提交保存”就能修改成功。

5.8.6、完成订单
完成订单是将订单进行投产,选择状态为未完成的订单,点击订单列表中的操作“完成”按钮,系统会提示“操作成功”

此栏目是查询单个投产的订单,可以操作的有:查看MI、上传开料图、修改MI、替换文件、完成订单、查看订单详情、查看开料图、返单
5.9.1、查看MI
选择其中一个订单,点击订单上方的“查看MI”即可查询到MI信息

5.9.2、上传开料图
选择一个订单,再选择订单上方的“上传开料图”,系统会弹出上传文件的窗口,依次上传“大料拼板图”和“A板拼版图”,上传后点击“确认提交”即可

修改MI:选择一个订单,再选择订单上方的“修改MI”,系统会跳转到修改MI的窗口,编辑后点击最下方的“提交保存”就能修改成功。

替换文件:替换文件是重新上传制作资料文件,操作,点击要重新上传文件的订单,点击订单上方的“替换文件”,系统会弹出上传文件的窗口,点击“上传文件”,上传成功后点击“确认提交”就能替换成功。(注意:文件要上传已处理的资料,上传压缩包格式文件)
此栏目是查看投产料号、子料号的订单详情信息。像板材、阻焊、字符等信息。可以进行操作的是:查询订单、导出Excel
5.10.1、查询订单
可以根据查询条件投产料号、子料号查询,输入条件信息后点击搜索即可查询到订单结果。

5.10.2、导出Excel
导出Excel是导出全部订单信息,直接点击订单上方的“导出Excel”,输入文件名,保存到要保存的文件位置即可。

此栏目是查询已经投入生产的订单,可以操作的有:查询订单、查看MI、替换文件、查看详情、补料
5.11.1、查询订单
可以根据投产料号和是否合拼进行查询,选择查询条件后点击“搜索”就能查询到订单结果。

5.11.2、查看MI
选择其中一个订单,点击订单上方的“查看MI”即可查询到MI信息

5.11.3、替换文件
替换文件是重新上传制作资料文件,操作,点击要重新上传文件的订单,点击订单上方的“替换文件”,系统会弹出上传文件的窗口,点击“上传文件”,上传成功后点击“确认提交”就能替换成功。(注意:文件要上传已处理的资料,上传压缩包格式文件)

5.11.4、补料
补料是给订单补投产的材料,操作,选择要补料的订单,点击列表中的拼板详情“补料”,系统会弹出补料的小窗口,输入补料数量,选择补单原因(下单填错参数、资料做错、少开料等原因),再点击“确认”按钮即可。

5.11.5、查看订单详情
直接点击订单列表中的订单详情中的“详情”,可以看到订单的详情信息,像客户型号、生产型号、订单类型、板材、板厚、铜厚等信息。

此栏目是管理还没有发出去的PCB订单,可以操作的有查询订单、查看详细、修改数量、出货、分批出货、报废、补料、查看客户信息、出货完结。

也可以根据生产进度:待出货、生产中、补料单和已出货的来查看订单。

6.2、查询订单
可以根据查询条件送货单号、客户代码、生产编号、文件名等条件查询,输入查询条件信息后点击旁边的“搜索”即可查看到订单结果。

查看详细:查看详细是查看订单的订单具体信息,比如联系人信息、板子的长宽和数量,以及总支付的费用。操作:选择要查询的订单,再点击订单上方的“查看详细”。
系统会弹出订单的详情页面。

6.3、修改数量
因为订单是批量出单的,修改数量是修改订单出货的订单数量,操作:选择要修改数量的订单,再点击订单上方的“修改数量”,系统会弹出输入出货数量的窗口,输入数量后点击下方的“确定”即可修改成功。

6.4、出货
出货是把订单发货出去,操作:选择要出货的订单,点击订单上方的“出货”按钮,系统会弹出出货的方式以及发货数量的窗口,输入完毕后点击“确认”就可以出货成功。

6.5、分批出货
分批出货是分批量进行出货,不全部进行出货。操作:选择要分批出货的订单,再点击订单上方的“分批出货”,系统会弹出发货方式的窗口,选择发货方式和填完出货数量后点击“确认”即可。

6.6、报废
报废是该订单客户已经不想要或者是其他原因无法制作的操作。操作方式:选择需要报废的订单,点击订单上方的“报废”按钮,系统会弹出输入报废数量的窗口,输入完毕后点击“确定”就能报废成功。

6.7、补料
补料是给订单补投产的材料,操作,选择要补料的订单,点击列表中的拼板详情“补料”,系统会弹出补料的小窗口,输入补料数量,选择补单原因(下单填错参数、资料做错、少开料等原因),再点击“确认”按钮即可。

6.8、查看客户信息
查看客户信息是查看收货人的信息,姓名、联系电话、公司名称、收货地址等信息。操作:选择一个要查询的订单,再点击订单上方的“查询客户信息”,系统会弹出客户的信息窗口。

6.9、出货完结
出货完结是完结订单,订单已经全部出货完毕。操作:选择一个订单,选择订单上方的“出货完结”,系统会再次提示是否要完结订单,点击是就能完结成功。

该栏目是查询发货的格式和内容。查询的话可以根据生产编号进行查询。操作:输入生产编号,再点击查询,如果没有反应,可以尝试点击“刷新”

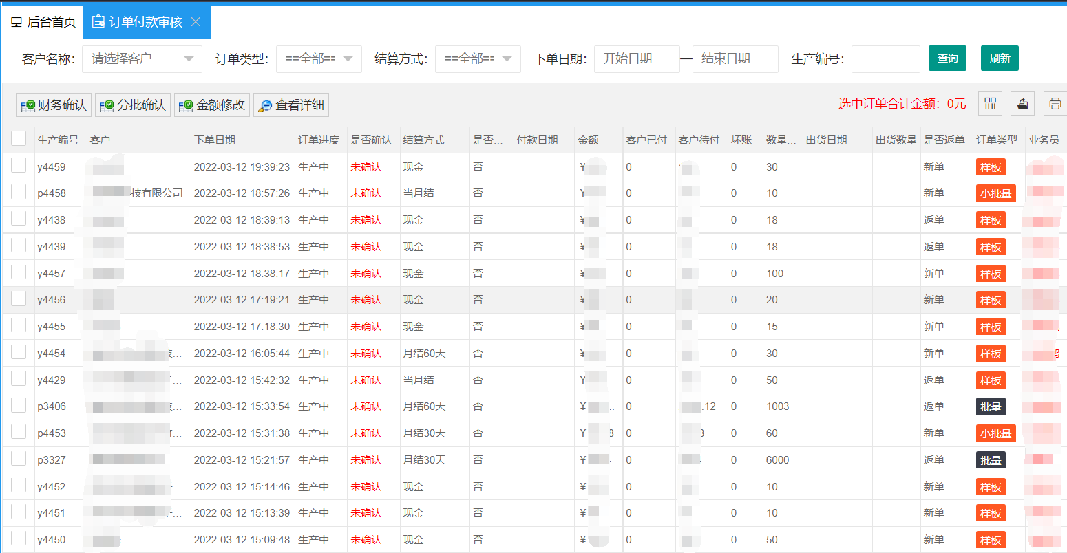
此栏目是财务用来做收款审核的,若现金客户,财务人员需要在此处进行到帐确认(若系统对接过线上下单平台的企业支付宝、企业微信支付等,则无需该操作,系统会自动确认);确认后才能安排到产线,月结客户无需财务确认。

此栏目是财务可在此处添加所有的财务收入明细帐。

此栏目是财务可在此处添加所有的财务支出明细帐。

此栏目是查询所有财务录入的收支明细。

此栏目是客户需要财务来进行对帐的所有订单及总数据列表,导出Excel发给客户进行对帐;对帐后的确认操作在7.6应收帐款总表 中操作。

此栏目是展示出所有客户应收帐款的总帐单,财务确认好收到的金额后,点击收款,输入已收款金额,系统自动存档,将所有对过帐的订单做存储;查看全部已对帐单明细表,如下图2。


此栏目是成品仓库的所有发货记录,方便财务去查询对帐详情,可导出Excel操作。

此栏目对企业整体财务情况进行了一个统计,分别统计出 前天、昨天、当天及本月的财务数据的统计;公司总收入、总支出,应收、应付,有效管理企业经济效益。

此栏目是公司所有材料供应商的管理,以及所有结算方式的管理。

此栏目是管理所有供应商所提供的产品、价格及交期,方便采购人员进行比价及日常数据管理工作。

此栏目是采购确认好采购需求后,将采购订单录入到系统中,生成对外采购单。

此栏目是采购需要确认采购单的进度情况,以及合同打印管理,采购单详情;通知材料仓库做入库处理。

此栏目是管理材料仓库的,查询原材料的库存情况;做物料入库,仓库人员确认物料,进行物料入库操作。


此栏目是管理材料的出入库明细记录,某个材料入库多少,使用的详情是哪些。

此栏目是系统内实时生产的订单进度统计信息;

此栏目是日、月样板及批量的整体出货数据统计,以成品仓库的发货数据为依据。

此栏目是所有客户订单生产情况一览表,可看到甩期订单情况。

此栏目是特殊情况下的补料生产进度,及补料详情数据。

此栏目是管理ERP系统所有用户,增加各部门的主管、操作人员帐号;同时可以禁用、启动帐户;

登录帐号的密码重置;

上一篇:无